
据techradar报道,尽管我们还没有见到PSVR 2头显的庐山真面目,但与之配套的PS 5主机手柄已然曝光,近日,来自WIPO知识产权组织的一份公开专利申请向我们展示了PSVR 2手柄最新信息。
该专利申请在2021年2月26日提交并于2021年12月2日公开,专利展示了PSVR 2手柄包括触发器式手柄外形、按钮位置以及如何更容易被PlayStation HD摄像头检测在内的详细图表。

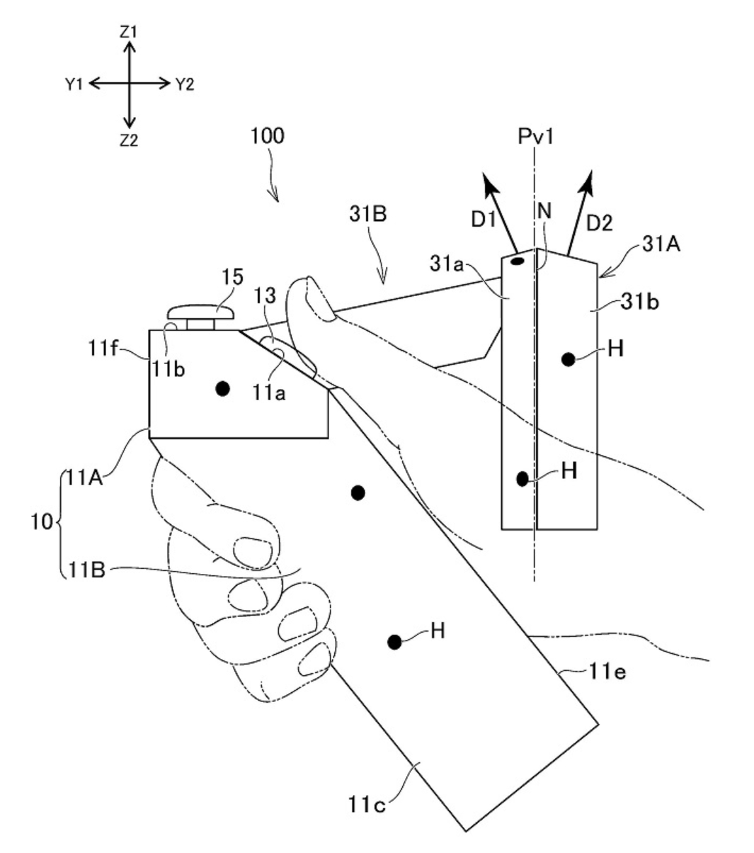
根据专利摘要,“本发明提高了基于摄像头检测的发光单元的稳定性”,该专利图纸显示了许多“黑点”,而这些黑点似乎代表了手柄的跟踪点。

该专利还描述了一种类似扳机手柄的控制器,该手柄与PS 5手柄十分类似,从早期的PS Move到更紧凑的球状手柄,手柄外形越来越趋向于Valve Index。

值得一提的是,专利并不意味着一种产品即将问世——它仅仅是企业保护其发明和创意以及潜在迭代的一种方式,不过鉴于VR技术仍是一项相对实验性的媒介,因此索尼可以在此基础上研究更多创新性输入方式。
文章来源:93913
我的微信
这是我的微信扫一扫


评论