IDC:2022 年中国 VR 一体机出货量破 100 万台

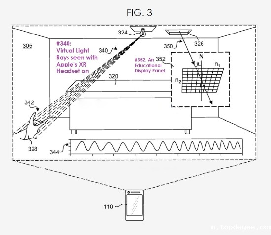
苹果新专利揭示其 XR 头显或可用于提供未来科学教育课程

来源:新浪
投稿:tougao@arinchina.com
稿件/商务合作: Vicky(微信 ARC-vicky)电话:18700987744
创始人:张明军(微信 13720775110)
更多精彩内容,请关注topdeyee微信公众号(ID:X增强现实)
我的微信
这是我的微信扫一扫


评论